Hallo,
wollte jetzt mal zur Abwechselung eine pneumatische Schaltung mit der neuen einstellbaren Drossel aufbauen sowie
doppeltwirkendem Zylinder. Statt Handventile jetzt allerdings mit elektrischen Magnetventilen.
So ganz modern und sortenrein mit elektrischen 3/2 Magnetventilen von Fischertechnik und wie seither in der Pneumatik
mit Abluftdrosselung. Habe einige originale Fischertechnik - Magnetventile.
Ach du Schreck, die Fischertechnik-Elektro-Magnetventile haben an der Abluftöffnung keinen Schlauchanschluß. Nur so einen Fetzen
Schaumgummi, Schaumstoff oder wie das Zeug auch heißen mag.
Da werde ich sicherlich auf FFM-Magnetventile umsteigen müssen.
Klar, könnte auch nur mit den vorhandenen Schlauchanschlüssen tricksen. Ist aber nicht sinngemäßer Mehraufwand.
Irgendwie ein bischen blöd.
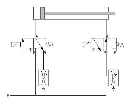
So habe ich es vor zu machen.
Aus- und Einfahren des Kolbens im doppeltwirkenden Zylinder immer gedrosselt.
Drosselung für jede Richtung seperat einstellbar.
Kann sein daß die Symbole veraltet sind. Lange ist es her wie ich es gelernt habe.

- doppelwirkender Zylinder mit 3-2-Wege.JPG (15.62 KiB) 5121 mal betrachtet